Posicionamiento fiable en entornos potencialmente explosivos
La Unión Europea se ha fijado como objetivo para 2020 un 20 por ciento de energía limpia. Ese 20 por ciento debe obtenerse de fuentes de energía renovables. Con este objetivo se pretende, por un lado, aliviar el medio ambiente y, por otro, reducir la dependencia del petróleo. Sin embargo, los campos de uso del petróleo son diversos, de modo que el petróleo no sólo se utiliza como fuente de energía, sino que también es la materia prima para la producción en diversas industrias, por ejemplo, la producción de plásticos. Esto significa que el petróleo seguirá siendo una de las materias primas más importantes en las próximas décadas, a medida que aumente la demanda de energía y materias primas. Como la demanda de petróleo es mayor, como el descubrimiento de nuevos pozos petrolíferos y el precio del petróleo está a un nivel muy alto, la lucratividad de la producción de yacimientos petrolíferos de difícil acceso, por ejemplo en perforaciones en aguas profundas. Estas perforaciones requieren un grado muy alto de automatización y las máximas precauciones de seguridad. Deepwater Horizon en el Golfo de México, entre otras cosas, muestra lo que puede ocurrir. El alto riesgo de explosión está omnipresente en las plantas petroquímicas. Por ello, todos los componentes que se instalan allí deben estar certificados a prueba de explosiones, como el nuevo codificador rotatorio AX65 de Hengstler.
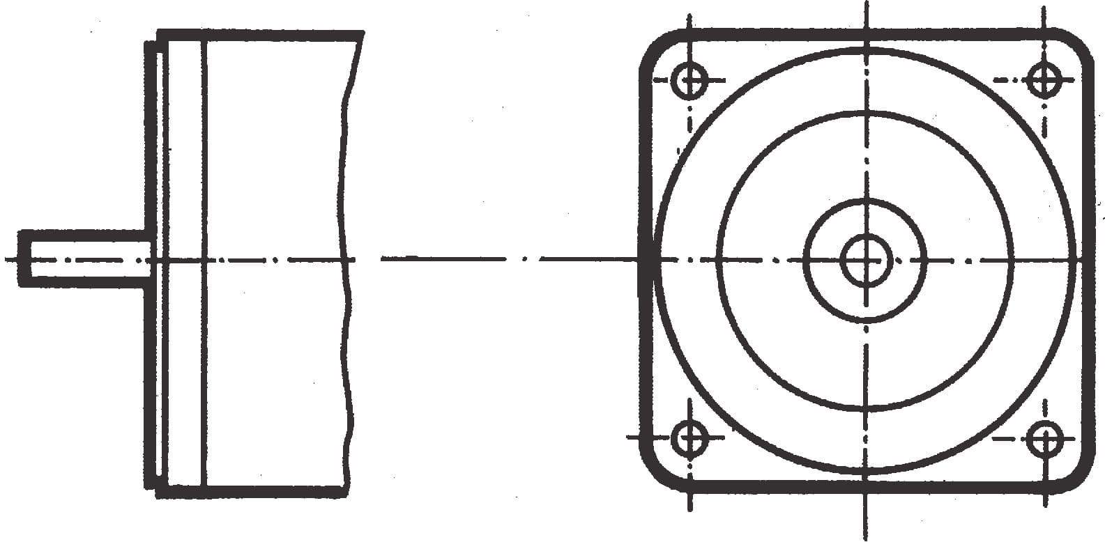
Codificador rotatorio antideflagrante AX65
Codificador rotatorio antideflagrante AX65
Durante muchos años, Hengstler, en colaboración con sus clientes, ha adquirido experiencia y conocimientos técnicos en el desarrollo y la aplicación de encoders en entornos difíciles. La última incorporación a la familia de encóderes antideflagrantes es el AX65. Tiene una alta clasificación IP (IP66 e IP67) y está certificado por ATEX e IECex. La certificación cubre minería, polvo y gas, lo que permite utilizarlo en todo el mundo en diversas aplicaciones, como plataformas petrolíferas, la industria química o la construcción de túneles.
Robusta, flexible y compacta
El AX65 combina la robustez requerida por la industria pesada con la compacidad de los encóderes industriales. Instalado en una carcasa compacta de acero inoxidable de 59 mm resistente a la corrosión, soporta elevadas cargas de apoyo de hasta 300 N. Esto significa para el usuario que puede prescindir en parte de jaulas protectoras para el codificador rotatorio, que se utilizan entre otras cosas como estribo, y ahorrar así costes. Gracias a su robusta detección magnética y al uso de un multivuelta electrónico sin desgaste y energéticamente autosuficiente, el AX65 es extremadamente fiable y siempre proporciona la posición correcta incluso después de un corte de corriente. La tapa de conexiones atornillada y, por tanto, fácilmente desmontable, permite acceder fácilmente a los elementos de control y al bloque de terminales. A través de los elementos de control, el usuario puede, por ejemplo, ajustar localmente la velocidad en baudios y el ID en función de la aplicación. Además, el codificador puede sustituirse por separado del cable. Esto es una gran ventaja, ya que en algunas plataformas los codificadores rotatorios se montan en aparejos de 30-40 m de altura. Cabe imaginar que los cables de 40 m de longitud son muy pesados y deben tenderse en canaletas para cables. Hasta ahora había que reubicar completamente el cable al sustituir el codificador, lo que puede suponer un verdadero reto en alta mar. El tendido y la sustitución independientes de cables y codificadores no sólo presenta ventajas de seguridad en caso de servicio, sino que también ahorra costes decisivos.
Aplicaciones
En las plataformas de perforación actuales se utilizan los Top Drives, en alemán torretas motorizadas. En sustitución de los accionamientos de plataforma giratoria, más exigentes mecánicamente, de las plataformas de perforación marinas y terrestres, una torreta motorizada acciona la sarta de perforación. El potente motor principal se encuentra en el extremo superior de la barra de perforación durante la perforación, de ahí el nombre de Top Drive. Para poder perforar con el tubo de perforación, el Top Drive debe montarse de forma móvil en el mástil del equipo de perforación. En la mayoría de los casos se mueve y se sujeta mediante una polea accionada por el aparejo de la perforadora. Una carga adicional durante el proceso de perforación rotatoria es la transferencia del fluido de perforación a alta presión a la tubería de perforación conectada. Además, el Top Drive debe ser capaz de elevar mecánicamente y hacer girar simultáneamente toda la masa de la sarta de perforación, que puede pesar más de 1.000 toneladas, por acción de elevación. Para poder mover con precisión el Top Drive junto con la tubería de perforación, hay varios codificadores rotatorios del tipo AX65 de Hengstler en el polipasto de cable. El AX65 mide el recorrido de elevación del Top Drive para realizar una realimentación de posición en diferentes ejes. Una posición exacta es necesaria, por ejemplo, cuando se conectan tubos de diferentes longitudes. Además, el AX65 mide la longitud en combinación con cables para el recorrido del Top Drive. Además de todas las mediciones de recorrido, es posible calcular una longitud total de la sarta de perforación de varios miles de metros de profundidad. Si el cabezal de perforación está desgastado y es necesario sustituirlo, se extrae toda la sarta de perforación. Ésta se extrae por tubería o, después de dos o tres tuberías, la tubería de perforación. La cabeza de perforación tiene la tarea de girar el varillaje, levantar los tubos aislados y colocarlos en soportes lateralmente. Teniendo en cuenta que una sola tubería de perforación sólo tiene unos 19 m de longitud, se puede calcular la frecuencia con la que hay que realizar este tipo de operaciones hasta que la cabeza de perforación desgastada queda al descubierto a partir de los 4000 metros de profundidad. Para este tipo de operaciones de elevación, los elevadores de gran tamaño, a prueba de fallos y de alto rendimiento son una parte importante de cualquier equipo de perforación.
Planta elevadora en una plataforma de perforación

Planta elevadora en una plataforma de perforación
El elevador sube y baja el cable metálico de la polea, que mueve el accionamiento superior junto con la barra de perforación. Además, el elevador puede utilizarse para controlar la carga de la broca. Los elevadores difieren principalmente en su rendimiento, el diámetro del cable utilizable, el tipo de transmisión (transmisión por cadena o por engranajes) y su modo de funcionamiento (caída libre o funcionamiento en 4 cuadrantes). La tarea de los codificadores rotatorios embridados a los accionamientos de los elevadores son los retornos de posición exactos para las distancias de desplazamiento que resultan de estas cargas particularmente pesadas de la torreta de perforación más la sarta de perforación muy larga, incluida la broca. Para garantizar un funcionamiento seguro del procedimiento, el encóder debe garantizar una realimentación de velocidad precisa y a prueba de fallos para el movimiento del cable.
Exigencias extremas para la plataforma
Las condiciones extremas son un reto para el codificador. Por ejemplo, la zona peligrosa, así como condiciones duras como el agua de mar, las tormentas, el hielo y la nieve. El codificador rotatorio debe tener un diseño mecánicamente estable para soportar los fuertes golpes e impactos que se producen en una plataforma de perforación al montar los tubos. Una conexión eléctrica segura, así como la rápida puesta en servicio del codificador rotatorio in situ, contribuyen a ahorrar costes y tiempo. Cada minuto de inactividad en la plataforma cuesta miles de dólares.
Hengstler ofrece la solución para estas aplicaciones extremas:
Codificador rotatorio AX65 en versión antideflagrante para cargas pesadas
Con el encóder AX65, Hengstler ofrece la solución adecuada tanto para su uso en plataformas de perforación como en otras zonas potencialmente explosivas. Su versión Heavy Duty a prueba de explosiones tiene un alto grado de protección hasta IP67. Su carcasa de acero inoxidable de alta calidad hace que el AX65 sea resistente al agua de mar agresiva. Dado que no se utiliza cristal como disco decodificador, sino que el muestreo es magnético, el AX65 es especialmente robusto frente a golpes fuertes y vibraciones. La construcción extremadamente robusta se caracteriza por el uso de rodamientos de bolas muy potentes. Los rodamientos absorben fuerzas axiales y radiales de hasta 300 N. El AX65 está diseñado para resistir golpes de hasta 200 g. La resistencia a las vibraciones se ha probado con éxito hasta 20 g. Con unas dimensiones de 70 mm y 59 mm de diámetro, el AX65 es uno de los codificadores más compactos de su clase. Otras ventajas del AX65:
- fácil instalación sobre el terreno
- fácil acceso al elemento de control (DIP), que se encuentra junto con la regleta de terminales bajo la cubierta de acero inoxidable atornillada
- instalación rápida durante la instalación o el mantenimiento
- Elección del cable adecuado in situ
- En caso de servicio, el sensor y el cable pueden cambiarse por separado.
El AX65 está preparado con las siguientes interfaces de bus: SSI, CANopen y Profibus. Con el AX65, Hengstler ha conseguido ofrecer un encóder para zonas potencialmente explosivas que no solo cumple las importantes certificaciones ATEX e IECex, reconocidas en todo el mundo, sino que también resiste las exigencias del uso intensivo gracias a su diseño robusto y compacto.
Sin desgaste gracias a la detección magnética
El encóder AX65 utiliza detección magnética tanto para una vuelta como para varias. Para la exploración monovuelta, un elemento Hall especial detecta una resolución de 12 bits. Por defecto, es posible una resolución multivuelta de 12 y 16 bits. Para registrar y emitir el número de revoluciones, la AX65 está equipada con un nuevo multivuelta electrónico. Éste funciona de forma totalmente autónoma, sin contacto y sin engranajes ni otros componentes móviles. Al no utilizar batería, la AX65 funciona de forma totalmente autosuficiente.